新聞中心
球磨機的卸料結構是怎樣的,如何卸料?
物料由尾倉通過出料篦板后,在出料篦板上的揚料板作用下將物料提升至一定高度,然后滑到錐形卸料體上,再溜到出料螺旋大筒內(錐形套筒),靠內螺旋葉片將物料排出磨外。
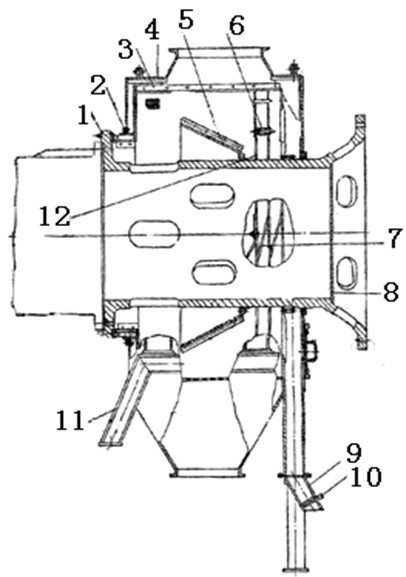
物料由卸料端中空軸排出后進入出料裝置。傳動接管用螺栓與磨機卸端中空軸聯接,另一端與中心傳動軸法蘭盤聯接。圓筒篩隨傳動接管一同旋轉。圓筒篩外面有一安裝在支架上的出料罩。傳動接管上有六個卸料孔,當磨機工作時物料由卸料孔進到圓筒篩內進行篩分,細小物料通過篩孔后匯集于出料罩漏斗,然后通過閃動閥進入輸送設備。未通過篩孔的粗顆粒物料及研磨體殘骸在錐形套和喬板的作用下溜入漏斗,其下部有插板,定期打開插板即可排出收集物。
下圖為磨機出料裝置:(1-傳動接管;2-壓圈;3-圓筒篩;4-出料罩;5-錐形套;6-滑塊;7-刮板;8-堵板;9-漏斗;10-插板;11-支架;12-十字架)

圓筒篩常用篩板作篩面,篩板通常用薄鋼板制造,篩孔多為長條形,長軸與旋轉方向一致,寬度為3.5~5mm。為防止篩孔被物料堵塞,篩筒內裝有振打裝置,在十字架上裝有四個滑塊,滑塊在重力作用下沿十字架滑動,每個滑塊在每圈中沖擊振打兩次。篩面上有厚鋼保護墊板。
為使物料由出料罩漏斗能順利流出,漏斗傾角應大于450。為避免漏料及漏風,在出料罩與傳動接管間用壓圈壓緊毛氈密封圈進行密封,并在出料罩漏斗下面裝翻板式閃動閥進行鎖風。物料靠自重啟閉閃動閥,當少料或無料時,翻板即受重錘作用而自鎖。
河南吉宏機械有限公司是從事大中型系列礦山機械,主要包括:球磨機、攪拌機、烘干機、節能球磨機、顎式破碎機、環錘式破碎機、超細球磨機、礦用浮選機、螺旋分級機、螺旋洗礦機、磁選機、選礦設備、浮選設備等重型機械設備為主,集研發、制造、銷售為一體的企業,公司位于河南省鞏義市310國道北山口交管站西300米。服務超值,質優價廉,值得信賴!歡迎各界人士實地考察選購。如果您有問題需要咨詢,請隨時與我公司聯系,河南吉宏將竭誠問您提供最優質的服務。24小時熱線:13849116116 電話:0371-64371564 傳真:0371-64371909 咨詢網站:http://www.56tv.cn